!ВАЖНАЯ ИНФОРМАЦИЯ!
Из-за нестабильности рынка уточняйте актуальные цены и наличие у менеджеров - они могут отличаться от указанных на сайте.

Каталог
Главная Каталог Спортивное оборудование Хореография и художественная гимнастика Станок хореографический пристенный (1,5 метра, двухрядный)

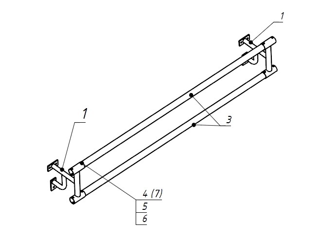
Станок хореографический пристенный (1,5 метра, двухрядный)

Станок хореографический пристенный (1,5 метра, двухрядный) - fgospostavki.ru - Казань
Лидер продаж
Артикул:
009-00373
Приказ №838:
Раздел 1. Комплекс оснащения общешкольных помещений, Подраздел 7. Спортивный комплекс, 1.7.143. Станок хореографический двухрядный
ОКПД2:
32.30.14.129
КТРУ:
32.30.14.129-00000004
по запросу
Цена по запросу
ОписаниеХарактеристикиКомплектация

Станок хореографический  двухрядный с креплением к стене.

Сопутствующие товары
Остались вопросы?
Адрес

г. Екатеринбург,
ул. Радищева 41, офис 156

Схема проезда

Данный сайт использует файлы cookie и прочие похожие технологии. В том числе, мы обрабатываем Ваш IP-адрес для определения региона местоположения. Используя данный сайт, вы подтверждаете свое согласие с политикой конфиденциальности сайта.
OK